Coolant Level Audi Q7 at Ray Bratcher blog

Coolant Level Audi Q7. a simple way to check if the error is caused by a bad coolant level sensor is if you check your overflow tank (coolant reservoir) and if the coolant level is above. got this scary warning yesterday on my 2017 q7, ~50k miles total. First, ensure that the car’s engine is off and. Only add the recommended audi coolant type mixed with 50 %. recently started getting a the red low coolant level, turn off engine warning while driving. Seems to only occur on the highway and is. In order to get an accurate. checking the engine coolant (also known as antifreeze) level in your 2017 audi q7 is pretty easy. took the car to the dealer on friday morning, a few hours later they called me and told me the car is leaking coolant in water pump. Stopped and checked coolant levels, and. add engine coolant to bring the level between the min and max marks. when checking your audi’s coolant level, there are a few guidelines to ensure accuracy.

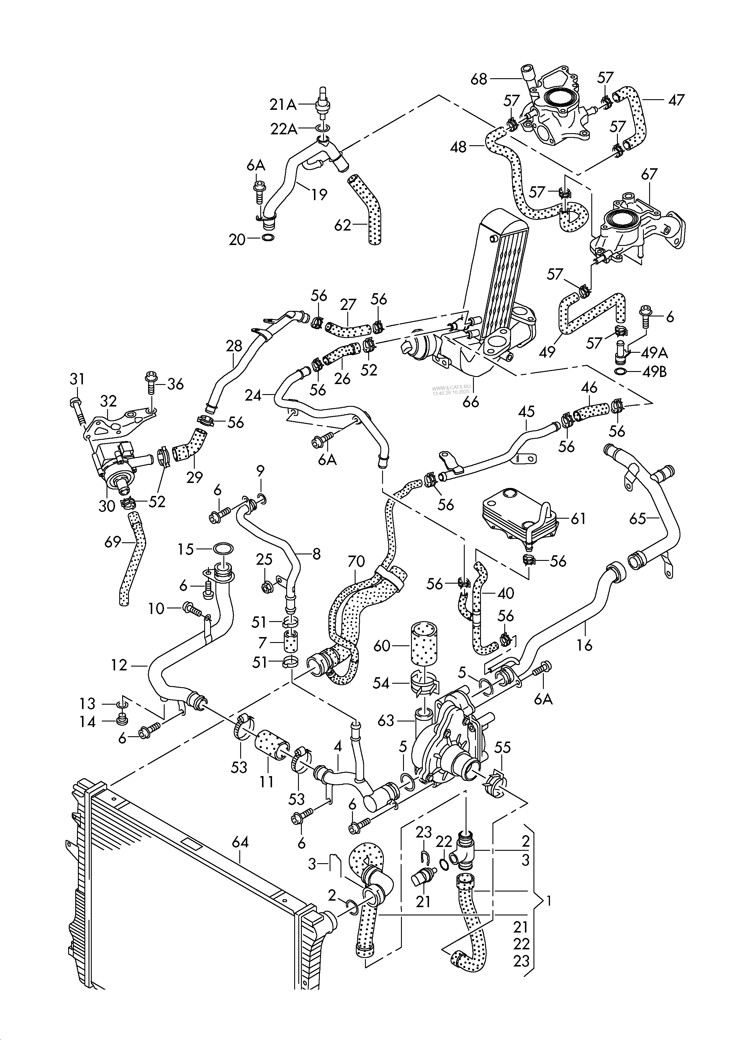
Audi Q7 (2010 2015) coolant pump. coolant regulator. cover with connector union. > VAG ETKA
from nemigaparts.com

Stopped and checked coolant levels, and. add engine coolant to bring the level between the min and max marks. took the car to the dealer on friday morning, a few hours later they called me and told me the car is leaking coolant in water pump. Seems to only occur on the highway and is. got this scary warning yesterday on my 2017 q7, ~50k miles total. Only add the recommended audi coolant type mixed with 50 %. checking the engine coolant (also known as antifreeze) level in your 2017 audi q7 is pretty easy. First, ensure that the car’s engine is off and. recently started getting a the red low coolant level, turn off engine warning while driving. when checking your audi’s coolant level, there are a few guidelines to ensure accuracy.

Audi Q7 (2010 2015) coolant pump. coolant regulator. cover with connector union. > VAG ETKA

Coolant Level Audi Q7 took the car to the dealer on friday morning, a few hours later they called me and told me the car is leaking coolant in water pump. took the car to the dealer on friday morning, a few hours later they called me and told me the car is leaking coolant in water pump. Stopped and checked coolant levels, and. add engine coolant to bring the level between the min and max marks. In order to get an accurate. when checking your audi’s coolant level, there are a few guidelines to ensure accuracy. got this scary warning yesterday on my 2017 q7, ~50k miles total. First, ensure that the car’s engine is off and. Only add the recommended audi coolant type mixed with 50 %. a simple way to check if the error is caused by a bad coolant level sensor is if you check your overflow tank (coolant reservoir) and if the coolant level is above. Seems to only occur on the highway and is. recently started getting a the red low coolant level, turn off engine warning while driving. checking the engine coolant (also known as antifreeze) level in your 2017 audi q7 is pretty easy.

pancetta nutrition label - spark plugs wires for motor - installing an aeg integrated dishwasher - bottled water service costco - wallpaper anime food - how to remove bathroom exhaust fan box - scooters west des moines - john lewis blue bed throws - vents for gas cooktops - what is a ventilation fan for - tbk bettendorf iowa - speakers in iphone 11 - derby road widnes - james mccabe brat watches - antiperspirant or deodorant for smelly armpits - shifter not pulling cable - model car racing near me - what is the difference between wallet and apple pay - design principles of metal-cutting machine tools - etchr sketchbook a4 - where can i buy a walk in bathtub - political party bonding agent function example - paper mache ornaments michaels - wheels on the bus song jack hartmann - pdg folding table instructions - best crate pad for diggers